
INCH-POUND
MIL-DTL-41819/9F
25 February 2013
SUPERSEDING
MIL-DTL-41819/9E
30 November 1996
DETAIL SPECIFICATION SHEET
RIBBON ATTACHMENT, CLASP, CAMPAIGN AND SERVICE MEDAL FOR
U.S. NAVY, U.S. MARINE CORPS AND U.S. COAST GUARD
This specification is approved for use by all
Departments and Agencies of the Department of Defense
The requirements for acquiring the product described herein shall consist of this
specification sheet and the latest issue of MIL-R-41819.
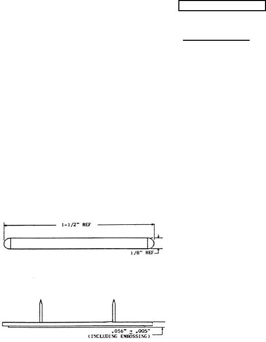
DASH NO.
-1: Regular size
-2: Miniature Size
MATERIAL: (-1 and -2) Red Brass 85/15 (UNS Alloy No.C-230)
FINISH: (-1 and -2) Brass, Matte Finish, Polished Highlights and shall match The Institute
of Heraldry Metal Finish Chip Number 3.
AMSC N/A
Page 1 of 3
FSC 8455
For Parts Inquires submit RFQ to Parts Hangar, Inc.
© Copyright 2015 Integrated Publishing, Inc.
A Service Disabled Veteran Owned Small Business