
MIL-DTL-11589/83F
COLOR PATTERN
SIZE: Rosette (2/)
FINISH: Moiré
WIDTH OF
COLOR & CABLE NUMBER
TOTAL
FUNCTION
STRIPES
WIDTH
OF STRIPES
INCHES
METRIC
STRIPES
FILLING YARN
1/32
0.8 mm
Edge & Binder
Bluebird
HR
67117
7/8"
13/16
20.6 mm
Ground
Bluebird
HR
67117
Bluebird
(22.2mm)
Stars
White
HA
67101
HR 67117
1/32
0.8 mm
Edge & Binder
Bluebird
HR
67117
PHYSICAL REQUIREMENT OF THE FINISHED RIBBON:
Total Warp Ends (Minimum): 156
Picks per Inch: 80 (1 thread single shot), 7 each star figure (2 threads single shot)
Weight per Linear Yard (Minimum): 0.16 ounces (4.5 g)
Linear Breaking Strength Full Width (Minimum): Not applicable
Denier of Yarn:
Warp (Ply): 50/2
Filling (Ply): Ground: 50/2
Stars: 150/2
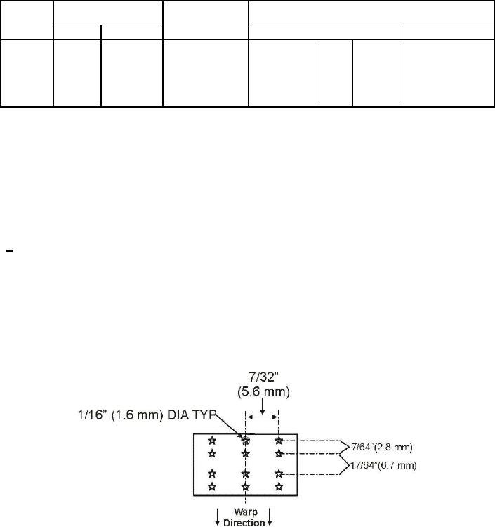
2/ ROSETTE RIBBON: The 7/8 inch (22.2 mm) rosette ribbon for the inside of the rosette shall be
woven with 3 vertical rows of stars, each row spaced 7/32 inch (5.6 mm), center to center. The middle
row shall have stars centered on ribbon width. The individual stars shall measure 1/16 inch (1.6 mm) in
diameter. In the direction of the warp, the stars shall be in groups of 2; 7/64 inch (2.8 mm) between
stars (center to center) and 17/64 inch (6.7 mm) between groups, star center to star center. (See star
layout)
ROSETTE CUP RIBBON: The ribbon for covering the outside of the rosette cup shall be solid Bluebird
HR 67117. The ribbon shall be woven 1/2 inch (12.7 mm) wide, with 172 warp ends.
Page 2 of 4