
NOT MEASUREMENT SENSITIVE
MIL-DTL-11484/115D
27 September 1996
SUPERSEDING
MIL-L-11484/115C
14 January 1994
DETAIL SPECIFICATION SHEET
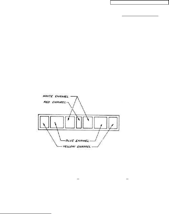
LAPEL BUTTON, DEFENSE SUPERIOR SERVICE MEDAL
This specification is approved for use by all Departments
and Agencies of the Department of Defense.
The requirements for acquiring the product described herein shall
consist of this specification sheet and the issue of MIL-DTL-11484 listed in
that issue of the Department of Defense Index of Specifications and
Standards (DoDISS) specified in the solicitation.
MATERIAL: Gilding Medal
DIMENSIONS:
HEIGHT (Overall): 9/64 inch (0.36 cm) (REF)
WIDTH (Overall):
21/32 inch (1.67 cm) (REF)
THICKNESS (At Edge): 0.065 inch + 0.005 inch (0.165 cm + 0.012 cm)
FINISH:
Hard Enameled, Nickel Plated, Mirror-like Polished and shall
match TIOH Metal Finish Chip Number 16.
1. The term (REF) refers to the measurements taken from the
Government furnished hub or die.
AMSC N/A
FSC 8455
DISTRIBUTION STATEMENT A.
Approved for public release; distribution is unlimited.
1 of 2
For Parts Inquires submit RFQ to Parts Hangar, Inc.
© Copyright 2015 Integrated Publishing, Inc.
A Service Disabled Veteran Owned Small Business