
INCH-POUND
MIL-DTL-11589/216F
11 October 2012
SUPERSEDING
MIL-DTL-11589/216E
2 July 1999
DETAIL SPECIFICATION SHEET
RIBBON, AFROTC WARRIOR SPIRIT AND AFJROTC ACTIVITIES
This specification is approved for use by all
Departments and Agencies of the Department of Defense.
The requirements for acquiring the product described herein shall consist of this specification sheet
and the latest issue of MIL-DTL-11589.
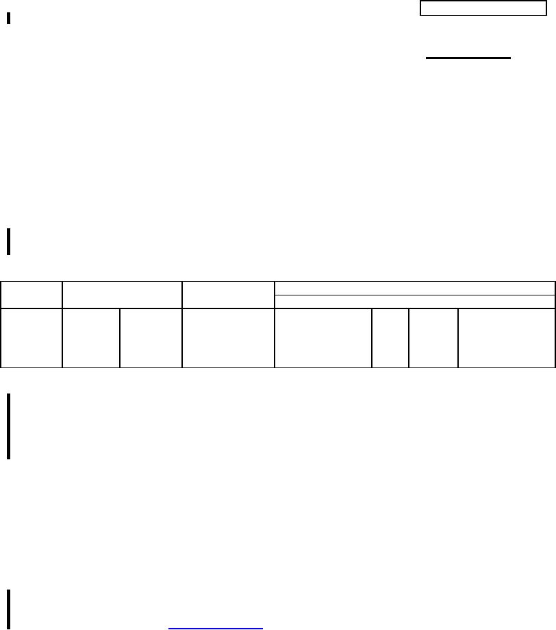
COLOR PATTERN: REGULAR SIZE
FINISH: MOIRÉ
TOTAL
WIDTH OF STRIPES
FUNCTION
COLOR &
CABLE NUMBER
WIDTH
INCHES & METRIC
OF STRIPES
STRIPES
FILLING YARN
1/32
0.8 mm
Edge & Binder
White
HA
67101
1-3/8"
21/32
16.7 mm
Ground
White
HA
67101
White
35.0 mm
21/32
16.7 mm
Ground
Ultramarine Blue
HS
67118
HA 67101
1/32
0.8 mm
Edge & Binder
Ultramarine Blue
HS
67118
CHANGES FROM PREVIOUS ISSUE: The margins of this specification are marked with vertical lines to
indicate where changes from the previous issue were made. This was done as a convenience only and
the Government assumes no liability whatsoever for any inaccuracies in these notations. Bidders and
contractors are cautioned to evaluate the requirements of this document based on the entire content
irrespective of the marginal notations and relationship to the last previous issue.
Custodians:
Preparing activity:
Army IH
Army - IH
Air Force -11
Review activity:
(Project No. 8455-2012-125)
DLA CT
NOTE: The activities listed above were interested in this document as of the date of this document. Since
organizations and responsibilities can change, you should verify the currency of the information above using
the ASSIST Online database at https://assist.dla.mil.
AMSC N/A
Page 1 of 1
FSC 8455