
INCH-POUND
MIL-DTL-11589/144E
4 June 2012
SUPERSEDING
MIL-DTL-11589/144D
15 September 1995
DETAIL SPECIFICATION SHEET
RIBBON, GORDON CANFIELD TROPHY, U. S. COAST GUARD (RESERVE GUIDON)
This specification is approved for use by all
Departments and Agencies of the Department of Defense.
The requirements for acquiring the product described herein shall consist of this specification sheet
and the latest issue of MIL-DTL-11589.
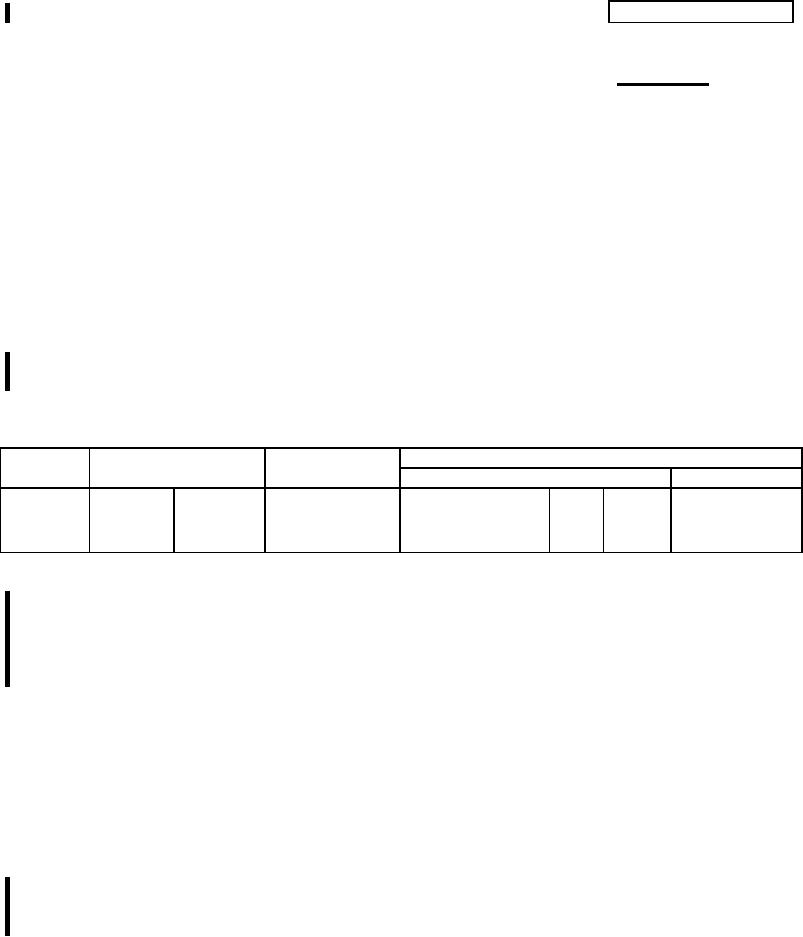
COLOR PATTERN: SIZE: REGULAR
FINISH: MOIRÉ
TOTAL
WIDTH OF STRIPES
FUNCTION
COLOR & CABLE NUMBER
WIDTH
INCHES & METRIC
OF STRIPES
STRIPES
FILLING YARN
HB
1/32
0.8 mm
Edge & Binder
Oriental Blue
67172
W
HB
1-3/8
1-5/16
33.4 mm
Ground
Oriental Blue
67172
Oriental Blue
W
HB
35.0 mm
1/32
0.8 mm
Edge & Binder
Oriental Blue
67172
HBW 67172
W
CHANGES FROM PREVIOUS ISSUE: The margins of this specification are marked with vertical lines to
indicate where changes from the previous issue were made. This was done as a convenience only and
the Government assumes no liability whatsoever for any inaccuracies in these notations. Bidders and
contractors are cautioned to evaluate the requirements of this document based on the entire content
irrespective of the marginal notations and relationship to the last previous issue.
Custodians:
Preparing activity:
Army IH
Army - IH
Coast Guard CG1
Review activity:
(Project No. 8455-2012-048)
DLA - CT
NOTE: The activities listed above were interested in this document as of the date of this document. Since
organizations and responsibilities can change, you should verify the currency of the information above using the
ASSIST Online database at https://assist.dla.mil.
AMSC N/A
Page 1 of 1
FSC 8455